В начало
ВЫПРЯМИТЕЛИ.

Многие потребители энергии требуют для своей работы постоянного тока. К ним относятся аппаратура радиоэлектроники и автоматики, двигатели постоянного тока в промышленности и на транспорте, технологические процессы в промышленности, например, электролиз.

Преобразование переменного тока в постоянный осуществляется в выпрямителях с использованием полупроводниковых приборов.

Основными частями выпрямителя являются:

вентильная группа, преобразующая переменный ток в постоянный, трансформатор, преобразующий величину напряжения, получаемого из сети, в величину, нужную для приемника постоянного напряжения;

сглаживающий фильтр для уменьшения пульсации выпрямленного напряжения.

Кроме того, выпрямитель может иметь устройства для стабилизации и регулирования выпрямленного напряжения.

По числу фаз первичной обмотки трансформатора выпрямители могут быть однофазными и трехфазными.

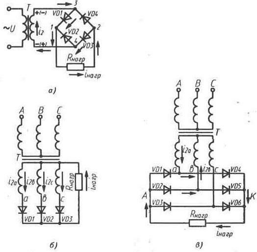
На рис. 2.5. показаны распространенные схемы выпрямителей.

2-81.jpg
Рис. 2.5. Схемы выпрямителей:
а) однофазная мостовая; б) трехфазная нулевая; в) трехфазная мостовая. i2,i2а,i2б,i2с — токи в обмотках трансформатора; iнагр — ток в нагрузке; Rнагр — сопротивление нагрузки; А — общий анод; К — общий катод.

Выпрямители с регулированием выпрямленного напряжения, или управляемые, могут работать по тем же схемам рис. 2.5, б, в, но с применением управляемых диодов и системы управления этими диодами.

Однофазная мостовая схема выпрямления (рис. 2.5, а) состоит из четырех диодов, включенных по схеме моста, причем

нагрузка присоединяется к общей точке катодов двух диодов и к общей точке анодов других двух диодов, составляя диагональ моста 1—2. Другая диагональ моста присоединяется к вторичной обмотке трансформатора. Направление тока в полупериод, когда знак «+» на верхнем конце обмотки трансформатора, показано на рисунке, при этом ток проводят диоды VD1 и VD3, а другие диоды находятся под обратным напряжением. В следующий полупериод ток проводят диоды VD2 и VD4. Ток в нагрузке всегда идет от точки 1 к точке 2, от зажима «+» выпрямителя к зажиму «—».

Трехфазная нулевая схема (рис. 2. 5, б) состоит из 3 вентилей, аноды которых присоединяются к выводам вторичной обмотки трансформатора, соединенной звездой, а катоды присоединяются общей точкой к нагрузке. Второй зажим нагрузки присоединяется к нулевой точке вторичной обмотки трансформатора. Ток через вентиль проходит в течение трети периода, а потом переходит на другой вентиль.

Пульсации выпрямленного напряжения в данной схеме меньше, чем в однофазной мостовой.

В трехфазной мостовой схеме выпрямления (рис. 2. 5, в) применяются шесть вентилей, образующих две группы: 3 вентиля с общим анодным выводом, а 3 — с общим катодным выводом. Нагрузка присоединяется к этим общим выводам. При активной нагрузке в любой момент времени ток проходит через два вентиля из разных групп. Пульсации выпрямленного напряжения в данной схеме меньше, чем в трехфазной нулевой.

В выпрямительных установках диоды вместе с охладителями входят в состав модулей, а модули входят в состав выпрямительного блока кассетного типа.

Применяется воздушное или жидкостное охлаждение диодов.

При воздушном охлаждении для приборов на токи 10... 25* А применяют охладители в виде пластин, а для более мощных приборов — специальные радиаторы.

Воздушное охлаждение бывает естественным и принудительным.

При естественном охлаждении из-за худших условий охлаждения по сравнению с принудительным охлаждением нагрузку приборов приходится снижать на 40%.

Принудительное охлаждение производится с помощью вентиляторов.

При жидкостном охлаждении в индивидуальных или групповых охладителях циркулирует вода, подаваемая насосами.

В тиристорных установках на токи 25, 50, 100 А применяется один шкаф для всех узлов установки, например, шкаф КТЭ. В его состав входят рама с автоматическими выключателями, кассеты системы регулирования, кассета системы защиты и сигнализации, блок питания, силовой тиристорный блок, измерительные приборы, устройства сигнализации.

Тиристорный агрегат AT на ток до 500 А состоит из шкафа вводного устройства и трансформатора, шкафа преобразователя, шкафа с автоматическим выключателем и реактором. Шкафы имеют приборы измерения напряжения и тока, приборы сигнализации.

На надежность выпрямительного устройства влияет качество монтажа. При монтаже надо обратить внимание на затягивание зажимов токоведущих частей, не допуская в то же время деформации металла в месте соединения. Как правило, агрегаты общепромышленных установок предназначены для работы в помещениях при температуре окружающего воздуха 1... 50 С, относительной влажности воздуха не более 85... 90% при+ 20 С или 50% при +40 С, отсутствии в помещении агрессивных газов и паров. Агрегаты монтируют на перекрытиях или полах с креплением болтами, причем отклонение от вертикали должно быть не более 5 угл град.

После монтажа агрегата производится наладка его блоков.

Сопротивление изоляции в силовых цепях измеряется мегаомметром на напряжение 2, 5 кВ и должно быть не менее 50 МОм, в цепях управления — мегаомметром на 0, 5 кВ и должно быть не ниже 0, 5 МОм.

Основным условием правильной работы агрегата является обеспечение строгой последовательности управляющих импульсов на электродах соответствующих тиристоров, что достигается фазировкой системы управления. Фазировка осуществляется с помощью осциллографа по инструкции.

При работе вентилей имеют место перенапряжения не только при аварийных режимах, но и при обычной работе. Это объясняется тем, что цепи с вентилями имеют реактивные элементы в виде дросселей и конденсаторов, в которых происходят колебания напряжения при переходе тока с вентиля на вентиль. Так как этот переход тока происходит непрерывно, то непрерывно происходят и колебания напряжения. Вследствие этого на вентилях могут быть перенапряжения, представляющие для них опасность. Перенапряжения могут происходить и при переключениях автоматами и контакторами.

Неисправности выпрямительных установок и методы их устранения приведены в инструкциях по эксплуатации. Некоторые неисправности установок приведены в табл. 2. 22.

Таблица 2.22. НЕИСПРАВНОСТИ ТИРИСТОРНЫХ ПРЕОБРАЗОВАТЕЛЕЙ

2-82.jpg